中国网财经12月8日讯(记者 白野)近日,一款宣称国货的肌肤日记品牌引起广泛关注。有媒体爆料一款自称“国货之光”的护肤品——肌肤日记,喊着“让国人没有皮肤问题,让创业没有风险压力”、“问题皮肤最高学府”、“功能多效全能品牌”等口号大肆宣传。可实际上,肌肤日记的产品都是国产非特殊用途化妆品,或涉嫌虚假宣传。
多产品涉嫌虚假宣传
中国网财经记者搜索发现,肌肤日记在官方网站及其小红书账号中宣传的多款产品具有“专治‘疑难杂症’”的功效,且宣称“无激素、无香精、无刺激、无抗生素”。究竟其产品是否这么“神奇”?
肌肤日记官网宣传的一款名叫“龙血竭精纯液0号”产品,宣称能“加快新老伤口愈合、缓解各种炎症、舒缓牛皮鲜症状、舒缓皮肤瘙痒、给脓肿痤疮消炎、舒缓脂溢性皮炎、舒缓头皮屑多的症状、预防纹绣术后各种并发症的发生、修护纹唇术后唇部发乌的症状、修护纹唇术后发炎症状、舒缓烧伤烫伤、舒缓荨麻疹症状、舒缓痔疮症状、舒缓发烧症状、修护痘痘肌、修护局部感染”。在该品牌官方小红书账号中甚至还宣称能应对“过敏性鼻炎、真菌感染、晕车、妇科炎症、颈椎疼痛”等问题。
肌肤日记会务总监康女士向中国网财经记者介绍,“龙血竭精纯液0号”产品是物理退烧,因为它里边的成分有薄荷有龙血竭,它不只可以退烧,它还可以解决很多问题像头皮屑、痔疮、脚气人、湿疹,就这一只0号很多皮肤上的问题都能解决。皮肤上可以涂抹,也可以食用,比如说咽炎你涂了就能缓解。“我们这个不是药品,不能当药品来卖,就是护肤品,但它有功效能缓解。因为成分是纯植物的0号的主要成分是龙血竭,有这个针对的效果。生产厂家是环亚药业,厂家有生产药的资质,但我们这个不是药品,千万不能误解了。”


图源:国家药监局备案网站
但是,中国网财经记者搜索发现,该产品生产企业广州环亚药业有限公司并没有药品生产备案资质,仅有化妆品生产许可,且许可项目为,一般液态单元(护发清洁类、护肤水类、啫喱类);膏霜乳液单元(护肤清洁类、护发类)。

图源:国家药监局备案网站
记者搜索国家药监局备案网站发现,名为“肌肤日记龙血竭精纯液0号”仅备案为国产非特殊用途化妆品。生产企业为广州环亚药业有限公司,全部披露产品均为自主生产,均不是受托加工。
根据《化妆品监督管理条例》规定,第十六条,用于染发、烫发、祛斑美白、防晒、防脱发的化妆品以及宣称新功效的化妆品为特殊化妆品。特殊化妆品以外的化妆品为普通化妆品。
第四十三条,化妆品广告的内容应当真实、合法。化妆品广告不得明示或者暗示产品具有医疗作用,不得含有虚假或者引人误解的内容,不得欺骗、误导消费者。
《中华人民共和国广告法》第十七条,除医疗、药品、医疗器械广告外,禁止其他任何广告涉及疾病治疗功能,并不得使用医疗用语或者易使推销的商品与药品、医疗器械相混淆的用语。

龙血竭精纯液0号成分安全风险
值得注意的是,肌肤日记官网宣传自己“无激素、无香精、无刺激、无抗生素”。但,“肌肤日记龙血竭精纯液0号”的成分表中赫然存在“冰片”这一物质。
此外,该品牌官网宣传的另一款名为“龙血竭精纯液6号”的产品,在国家药监局备案网站所披露的产品成分,与其在官网上所宣传的内容大相径庭。
而且,一款名为“元宝枫神经酸凝胶糖果”产品甚至被宣称可以“改善睡眠、延缓智力衰退、改善新陈代谢、促进大脑发育、皮肤护理以及预防皮肤病”等。并在其小红书上贴出“一瓶神经酸一朝登高科”“高考再无难”等宣传语句。
专利申请号印刷宣传成专利号

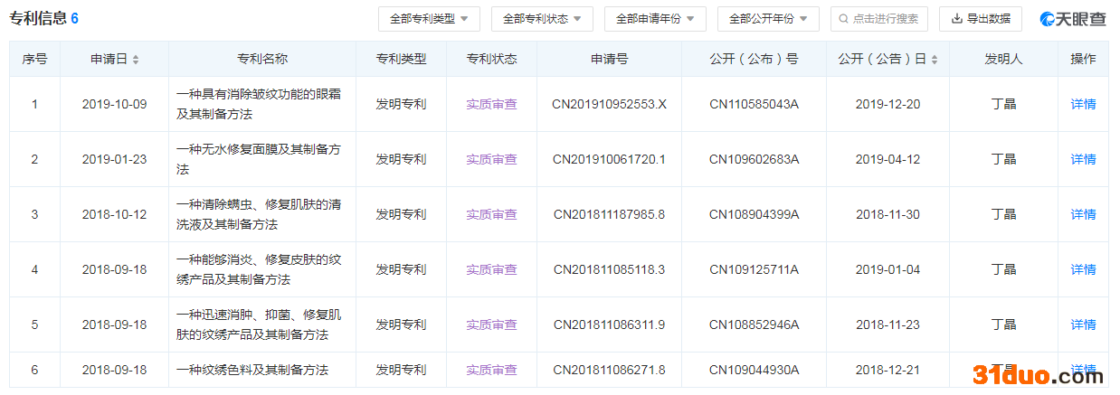
图源:天眼查
上述“龙血竭精纯液6号”产品的外包装标有一条专利号,中国网财经记者检索找到,该专利号还在专利申请过程中,法律状态为实质审查生效,尚未取得专利授权。

图源:天眼查
北京市炜衡律师事务所许子栋律师向中国网财经记者解释,上述行为不合规。产品申请专利就产生专利申请号,但企业不能将申请号印刷宣传成专利号。我国《专利法》第十六条规定:“专利权人有权在其专利产品或者该产品的包装上标明专利标识。”依照该条款的法律规定,在专利申请提出以后,授权以前,由于尚未获得专利权,申请人不得将该申请号作为专利号标注在其产品或包装上。
《中华人民共和国广告法》第十二条,广告中涉及专利产品或者专利方法的,应当标明专利号和专利种类。未取得专利权的,不得在广告中谎称取得专利权。禁止使用未授予专利权的专利申请和已经终止、撤销、无效的专利作广告。
第六条规定,县级以上地方市场监督管理部门主管本行政区域的广告监督管理工作,县级以上地方人民政府有关部门在各自的职责范围内负责广告管理相关工作。
第五十五条规定,违反本法规定,发布虚假广告的,由市场监督管理部门责令停止发布广告,责令广告主在相应范围内消除影响,处广告费用三倍以上五倍以下的罚款,广告费用无法计算或者明显偏低的,处二十万元以上一百万元以下的罚款;广告经营者、广告发布者明知或者应知广告虚假仍设计、制作、代理、发布的,由市场监督管理部门没收广告费用,并处广告费用三倍以上五倍以下的罚款,广告费用无法计算或者明显偏低的,处二十万元以上一百万元以下的罚款;
第八十四条,下列行为属于专利法第六十三条规定的假冒专利的行为:
(一)在未被授予专利权的产品或者其包装上标注专利标识,专利权被宣告无效后或者终止后继续在产品或者其包装上标注专利标识,或者未经许可在产品或者产品包装上标注他人的专利号。
公开资料显示,肌肤日记的官方微信公众号认证主体为“广州上官靖文化传播有限公司”,而该品牌在小红书中认证的主体为“无锡市肌肤日记生物科技有限公司”。不过,国家药监局备案网站显示,标称为“肌肤日记”产品的生产企业均为广州环亚药业有限公司,且标注为“自主生产”。肌肤日记官方网站介绍,品牌创始人兼董事长为上官靖,但该姓名在上述三家公司信息中均为出现。且三者在工商信息上,没有发现有联系。

图源:天眼查
天眼查显示,广州上官靖文化传播有限公司成立于2017年4月18日,法定代表人为丁晶,注册资本100万元,实缴资本0元。
无锡市肌肤日记生物科技有限公司,成立于2019年8月7日,法定代表人朱欣欣,注册资本为500万元。
广州环亚药业有限公司成立于2019年12月25日,法定代表人为红令。
(责任编辑:关婧)
中国经济网声明:股市资讯来源于合作媒体及机构,属作者个人观点,仅供投资者参考,并不构成投资建议。投资者据此操作,风险自担。
打开微信,点击底部的“发现”,使用 “扫一扫” 即可将网页分享到我的朋友圈。

