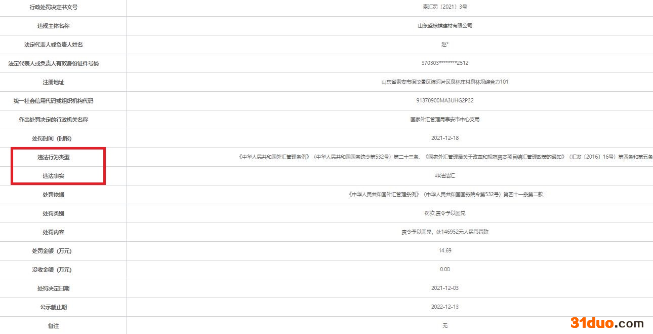
中国经济网北京12月14日讯 国家外汇管理局网站日前公布的行政处罚决定书(泰汇罚〔2021〕3号)显示,山东盛棣横建材有限公司非法结汇,违反了《中华人民共和国外汇管理条例》(中华人民共和国国务院令第532号)第二十三条、《国家外汇管理局关于改革和规范资本项目结汇管理政策的通知》(汇发〔2016〕16号)第四条和第五条规定,国家外汇管理局泰安市中心支局依据《中华人民共和国外汇管理条例》(中华人民共和国国务院令第532号)第四十一条第二款规定,对其责令予以回兑,处146952元人民币罚款,处罚日期为2021年12月3日。
经中国经济网记者查询发现,山东盛棣横建材有限公司为中瑞集团有限公司全资子公司。
《中华人民共和国外汇管理条例》(中华人民共和国国务院令第532号)第二十三条规定:资本项目外汇及结汇资金,应当按照有关主管部门及外汇管理机关批准的用途使用。外汇管理机关有权对资本项目外汇及结汇资金使用和账户变动情况进行监督检查。
《国家外汇管理局关于改革和规范资本项目结汇管理政策的通知》(汇发〔2016〕16号)第四条规定:境内机构的资本项目外汇收入及其结汇所得人民币资金,可用于自身经营范围内的经常项下支出,以及法律法规允许的资本项下支出。
境内机构的资本项目外汇收入及其结汇所得人民币资金的使用,应当遵守以下规定:
(一)不得直接或间接用于企业经营范围之外或国家法律法规禁止的支出;
(二)除另有明确规定外,不得直接或间接用于证券投资或除银行保本型产品之外的其他投资理财;
(三)不得用于向非关联企业发放贷款,经营范围明确许可的情形除外;
(四)不得用于建设、购买非自用房地产(房地产企业除外)。
境内机构与其他当事人之间对资本项目收入使用范围存在合同约定的,不得超出该合同约定的范围使用相关资金。除另有规定外,境内机构与其他当事人之间的合同约定不应与本通知存在冲突。
《国家外汇管理局关于改革和规范资本项目结汇管理政策的通知》(汇发〔2016〕16号)第五条规定:(一)境内机构使用资本项目收入办理结汇和支付时,均应填写《资本项目账户资金支付命令函》(见附件)。结汇所得人民币资金直接划入结汇待支付账户的,境内机构不需要向银行提供资金用途证明材料。境内机构申请使用资本项目收入办理支付(包括结汇后不进入结汇待支付账户而是直接办理对外支付、从结汇待支付账户办理人民币对外支付或直接从资本项目外汇账户办理对外付汇)时,应如实向银行提供与资金用途相关的真实性证明材料。
(二)银行应履行“了解客户”、“了解业务”、“尽职审查”等展业原则,在为境内机构办理资本项目收入结汇和支付时承担真实性审核责任。在办理每一笔资金支付时,均应审核前一笔支付证明材料的真实性与合规性。银行应留存境内机构资本项目外汇收入结汇及使用的相关证明材料5年备查。
银行应按照《国家外汇管理局关于发布 金融机构外汇业务数据采集规范(1.0版) 的通知》(汇发〔2014〕18号)的要求,及时报送与资本金账户、境内资产变现账户、境内再投资账户、外债专用账户、境外上市专用账户、其他类型的资本项目账户、结汇待支付账户(账户性质代码2113)有关的账户、跨境收支、境内划转、账户内结售汇等信息。其中,结汇待支付账户与其他人民币账户之间的资金划转,应通过填写境内收付款凭证报送境内划转信息,并在“发票号”栏中填写资金用途代码(按照汇发〔2014〕18号文件中“7.10结汇用途代码”填写);除货物贸易核查项下的支付,其他划转的交易编码均填写为“929070”。
(三)对于境内机构确有特殊原因暂时无法提供真实性证明材料的,银行可在履行尽职审查义务、确定交易具备真实交易背景的前提下为其办理相关支付,并应于办理业务当日通过外汇局相关业务系统向外汇局提交特殊事项备案。银行应在支付完毕后20个工作日内收齐并审核境内机构补交的相关证明材料,并通过相关业务系统向外汇局报告特殊事项备案业务的真实性证明材料补交情况。
对于境内机构以备用金名义使用资本项目收入的,银行可不要求其提供上述真实性证明材料。单一机构每月备用金(含意愿结汇和支付结汇)支付累计金额不得超过等值20万美元。
对于申请一次性将全部资本项目外汇收入支付结汇或将结汇待支付账户中全部人民币资金进行支付的境内机构,如不能提供相关真实性证明材料,银行不得为其办理结汇、支付。
《中华人民共和国外汇管理条例》(中华人民共和国国务院令第532号)第四十一条规定:违反规定将外汇汇入境内的,由外汇管理机关责令改正,处违法金额30%以下的罚款;情节严重的,处违法金额30%以上等值以下的罚款。非法结汇的,由外汇管理机关责令对非法结汇资金予以回兑,处违法金额30%以下的罚款。
以下为原文:

中国经济网声明:股市资讯来源于合作媒体及机构,属作者个人观点,仅供投资者参考,并不构成投资建议。投资者据此操作,风险自担。
打开微信,点击底部的“发现”,使用 “扫一扫” 即可将网页分享到我的朋友圈。

