作者:韭零后
“人在美国、刚下飞机、博士学位、年入百万...”,曾经在知乎上的标签式语句如今已经成为段子,也正是由于这种文化的破圈,知乎慢慢被网友们熟知。
4月11日,知乎向港交所递交招股书,预计4月22日在港交所上市交易,公开发售价不超过每股32.06港元,瑞信、摩根大通、中金、招银为承销商。
此次IPO,知乎计划发行2600万股A类普通股,并且该股份全部来自早期投资者。这意味着知乎将通过不增发新股的方式,完成在港股的双重主要上市。
与二次上市的区别在于,双重主要上市的公司会同时拥有在两个上市地的同等上市地位,如果在其中一个上市地退市,并不影响在另一个上市地的上市地位。相较于二次上市,其优势是能避免和美股ADR联动,股价表现相对独立。
业内人士表示,美股市场的环境正在日益错综复杂,在这样的情况下,即便二次上市比较简单明确,但却是一种不彻底的方式,知乎采用的双重上市虽然申请流程和批准工序高度复杂,但后遗症较小。
该人士还表示,未来即使知乎选择离开美股,港股的上市也丝毫不受影响,这样的上市方式无疑是把隐患都提前解决,从长期的发展角度来说,知乎双重上市的做法无疑是非常明智的。
业内人士称,继美国证监会(SEC)将多家中国公司认定为有退市风险的“相关发行人”后,寻求双重主要上市已被多家中概股公司纳入了议程。
虽然知乎此次IPO通过了港交所聆讯,但与一年前知乎在美股上市相比,知乎本身所面临的一些问题并未解决。
而且通过知乎的招股书数据,凤凰网财经《IPO观察哨》发现,知乎的发展似乎并没有得到投资者的认可,一方面是股价距前期高点跌超了80%,另一方面原始股东“风投女王”徐新也将大撤退,那投资者是否会为知乎此次港股IPO买单一切还是个未知数。
三年亏了28个亿 创始人周源年薪2.89亿元
知乎最早上线于2011年1月,其创始人为周源,现担任董事长、行政总裁。周源2003年毕业于成都理工大学计算机专业,2006年3月取得东南大学软件工程硕士学位。硕士毕业后,周源于2006年6月至2007年12月担任《IT经理世界》的记者,后2008年10月至2010年11月创办了一家专注于电商业务大数据分析开发的企业。
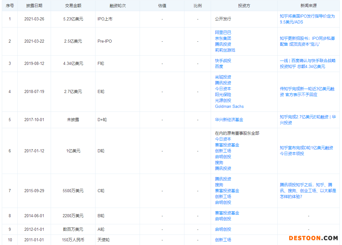
2011年1月,周源拿到李开复天使轮投资后,这个模仿美国Quora的网站开始在众多创业公司中展露头角。天眼查数据显示,知乎累计融资超15亿美元,几乎是每年都会获得一笔融资。

从知乎的融资历程中,我们发现互联网巨头们几乎都有参与。在众多巨头的扶持下,知乎的业务、数据很快爆发,目前已经成为中国最大的综合在线内容社区之一,更是全国最大的在线问答社区。
招股书显示,2021年第四季度,知乎的平均移动端月活跃用户达9960万人,平均每月浏览人次达5亿,平均每月用户互动达3.9亿次。截至2021年12月31日,知乎的累计内容创作者达5500万人,累计贡献4.2亿条问答内容,涵盖超过1000种垂直领域。
但知乎的盈利问题却没有得到解决,甚至亏损越来越严重。
数据显示,2019年-2021年,知乎的营业收入分别为6.71亿、13.52亿和 29.59亿元,期间同比增长率分别为101.49%和118.86%;而收入成本则分别为3.58亿元、5.94亿元和14.05亿元,期间内同比增长率分别为65.92%和136.53%。明显2021年收入的增长速度已经赶不上成本的增长速度了。

收入增长速度赶不上成本增长速度,也导致了知乎的亏损持续增加。
据了解,近三年,知乎净亏损共计28亿元,经调整净亏损共计19.12亿元。其中,2019年、2020年、2021年,知乎净亏损分别为10亿元、5.18亿元、13亿元;经调整净亏损分别为8.25亿元、3.38亿元、7.50亿元。
从知乎的营运开支上不难发现,2021年知乎在销售及营销开支上花费了大价钱,2021年较2020年同比增长了122.45%。
对于亏损情况,知乎表示,为了继续战略性地产生支出以建立和扩展内容生态系统、提高知乎的内容质量及内容组合,促进社区文化及用户互动,将会继续产生净亏损。
据了解,在2021年的净亏损中,有一部分是股权激励费用(为非现金开支)。
招股书中显示,周源2020年和2021年的年薪分别为2741.9万和2.89亿元。周源的薪酬主要包括基本薪资和股权激励,2020年周源的基本薪资为55.2万+2637.9万的股权激励,而2021年则上升到了202.5万的基本薪资+2.86亿元的股权激励。


对于一家持续亏损的上市公司,2.89亿元的薪酬可以说是一个巨额数字了,即便是在众多互联网企业中也是比较靠前的。
毛利率走低 押注短视频
增收不增利的背后,多少也能看出知乎在商业变现上的“焦虑”。
据了解,知乎最早于2016年开始了商业化之路,最先是提供在线广告服务,在很长一段时间里,知乎对于广告业务的依赖性都非常强,财报显示其2019年广告营收占比高达86%。
知乎似乎也看到了自己业务单一的缺点,于2020年初正式推出内容商业化解决方案,利用内容发送系统,精准地向目标读者传递推荐以回答、文章和视频形式发布的商业内容,增加品牌或产品的曝光率。
内容商业化解决方案的推出,在业务平衡上有了明显的效果,2020年知乎的广告收入占比降到62%。2021年底广告收入占比已经降至39.2%。与此同时,内容商务解决方案也逐渐成为知乎营收主力。2019年,该业务营收占比仅为0.09%,2021年底,内容商务解决方案已经占比营收达到了32.9%,与广告营收差距越来越小。

不过,业务模式的平衡也让知乎的毛利率出现了下滑,数据显示,2019年-2021年,知乎的毛利率分别为46.6%、56.0%以及52.5%。知乎方面也表示,主要是为建立丰富的内容库的内容相关成本、推广及广告活动的销售及营销开支,以及加强技术基础设施的研发开支所致。
此外,今年知乎似乎将视频内容奉为押注的增长重点,周源也在一季度财报中提及:“将持续进行视频化战略,进一步推动内容社区的壮大。
不可否认,知乎发力视频取得了一定进步。在过去一段时间,知乎一分钟以上的中视频季度日均上传量同比涨了17倍,知乎视频消费用户平均视频消费时长同比增幅超过了60%,当前社区消费视频类内容的用户在DAU的渗透率已经达到30%。
不过,抖音、快手、B站等短视频巨头的压力下,知乎想要从中杀出一条血路似乎很难。
股价暴跌超80% “风投女王”徐新大撤离
2017年通过知乎D轮融资,徐新通过今日资本入股了知乎。对于在D轮融资中进入的知乎,徐新当时表示对知乎的领投“决策速度很快,上一轮虽然错过了,但我们一直关注着知乎的成长。”

并且徐新还表示,今日资本是长青基金,好公司有耐心等待。不过,对于“耐心”二字,徐新的理解似乎并没有想象中的那么久。
据了解,美股IPO上市前,今日资本持有知乎1629.44万股,而在港股IPO前,今日资本持有知乎1533.19万股。如果知乎在4月22日成功上市,今日资本的持股数量将变为333.19万股,这就意味着今日资本将通过此次港股IPO减持1200万股,占其总持股数量的78%,可谓是“清仓式”减持。

今日资本迫切套现,或许与知乎股价长期下跌有着密切关系。
据了解,知乎于2021年3月26日在美股上市,发行价每份ADR为9.5美元,股价曾一度涨至13.85美元,然而好景不长,知乎股价一路下跌,截止目前,知乎报1.83美元/ADR,距前高点跌超80%。
知乎的每份ADR相当于0.5股,也就说当前知乎的股价为3.66美元/股。

股价暴跌也让投资者们苦不堪言,那今日资本投资知乎亏钱了吗?

据了解,创新工场、启明创投、赛富及今日资本在知乎投资的每股平均成本分别约为0.67美元、0.87 美元、1.61美元及5.83美元。也就是说剔除分红、前期美股减持等因素影响,按照美股的价格来算,今日资本无疑是亏损的,而其他几个投资人还是有不小的获利。
如果今日资本此次在美股减持这1200万股,按照1.83美元/ADR,将套现4392万美元,亏损2604万美元,约人民币1.66亿元人民币。
而如果按照此次港股IPO每股32.06港元发行价计算的话(按照1:7.8405),今日资本将套现3.85亿港元,约4906.83万美元,而此次交易将会亏损2089.17万美元,约人民币1.33亿元。
不难看出,此次按照港股发行价减持,今日资本能少亏一些。
值得一提的是,除了徐新的今日资本,其他几个原始股东也进行了减持。此次港股上市,创新工场、启明创投、赛富分别卖出750万股、316.58万股、325.018万股。
而对于此次知乎港股上市,投资者似乎也不太看好。

“直接沽空、不要申购、一来就割韭菜等热议不断”。


后记:
知乎港股32.06港元/每股的发行价,较2021年3月26日的发行价低了56.96%,然而即便如此,仍然高于知乎美股的现价。
此外,凤凰网财经《IPO观察哨》发现,在过去上市的一年中,知乎营收上虽然还在增长,但其亏损也越来越大,毛利率也在走低,甚至连昔日领投的今日资本也将大撤离。
“有问题,就会有答案”,那知乎的未来又在哪里?凤凰网财经《IPO观察哨》将持续关注。
(责任编辑:韩艺嘉)
中国经济网声明:股市资讯来源于合作媒体及机构,属作者个人观点,仅供投资者参考,并不构成投资建议。投资者据此操作,风险自担。
打开微信,点击底部的“发现”,使用 “扫一扫” 即可将网页分享到我的朋友圈。

