1月7日讯 据外媒Segmentnext报道,游戏公司EA申请的一项专利于 2020 年末通过,这是一项全新的玩法系统。
玩家可以发出语音命令来控制一些原本不可控制或不可玩的角色,以进行各种动作,他们希望使用实际的语音命令实时控制角色。

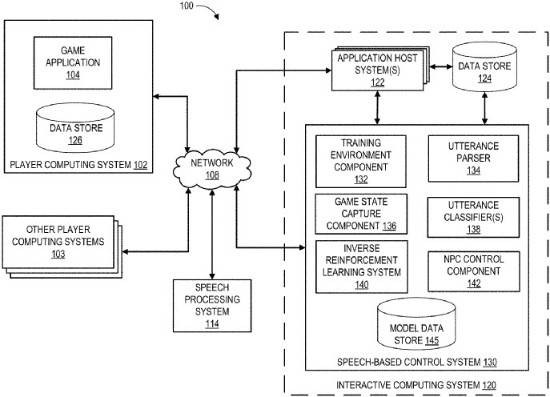
专利中的流程图
通过计算机自我学习的能力,EA 希望创建一个系统 —— 玩家通过自定义语言让游戏中的角色执行相应动作。通过收集多个玩家的数据,从而让游戏中的角色在潜移默化中学会识别语音,并做出相应的动作。比如,在游戏中说 “躲闪” 或者 “跳跃” 能让不可玩角色或者同伴执行相应动作。当然,这些动作必须首先由玩家让游戏角色学习。也就是说,先让一个或者多个游戏模型进行学习,让后将学会的技能输出给游戏中非操作型角色。

比如在《FIFA 21》这类型的足球游戏或《NBA》系列的篮球游戏中,玩家想要传球给某个电脑控制的队友,便可以通过语音告诉对方准备接应。尽管很多玩家已经能够熟练掌握切换游戏人物的功能,但是加上语音控制,可以提供完全不同的游戏体验以及乐趣,也更让玩家有参与沉浸感。


