27日,中证指数官网发布了沪深300、上证50、科创50、上证180和中证500等多个指数样本的定期调整方案。
值得注意的是,此次有多家券商被调出了沪深300、上证180等重要市场指数。例如,被调出沪深300指数的就包括了长江证券、国金证券、财通证券、中银证券、南京证券、天风证券等6家券商。经过此次调整后,沪深300指数中的券商股还剩下20家。
而根据沪深300指数的样本选择方法,过去一年时间内,券商板块整体表现低迷是此次多家券商被调出指数的主要原因。
多家券商被调出沪深300指数
今日晚间,中证指数官网发布了沪深300、上证50、科创50、上证180、中证500等多个指数样本的定期调整方案。


部分指数此次样本调整方案
图片来源:中证指数官网截图
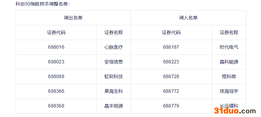
根据指数规则,经指数专家委员会审议,上证50指数更换5只样本,三峡能源、恒力石化等调入指数;上证180指数更换18只样本,兖矿能源、君实生物-U等调入指数;科创50指数更换5只样本,晶科能源、时代电气等调入指数;沪深300指数更换28只样本,盐湖股份、龙源电力等调入指数;中证500指数更换50只样本,君实生物-U、上海医药等调入指数。
本次样本调整后,从行业来看,沪深300指数中,原材料行业样本数量净增加5只,权重上升0.98%;工业行业样本数量净增加7只,权重上升0.93%;信息技术行业样本数量净增加5只,权重上升0.71%;金融行业样本数量净减少5只,权重下降1.05%;房地产行业样本数量净减少1只,权重下降0.12%。
中证指数公司公开表示,此次调整为指数样本的定期例行调整,定期调整方案将于6月10日收市后正式生效。
值得注意的是,此次有多家券商被调出了沪深300、上证180等重要市场指数。
例如,此次被调出沪深300指数的就包括了长江证券、国金证券、财通证券、中银证券、南京证券、天风证券等6家券商;被调出上证180指数的包括国投资本、华鑫股份、天风证券、红塔证券等4家券商。与此同时,此次没有其他券商被新调入这两大指数。
值得一提的是,此次被调出沪深300指数的部分券商之前已经在指数中存续了多年。据Choice数据统计,长江证券、国金证券自2008年被纳入沪深300指数以来,迄今已有近14年时间。
多只券商股落选背后的“硬伤”
根据中证指数公司去年12月发布的《沪深300指数编制方案》,每半年审核一次沪深300指数样本,并根据审核结果调整指数样本。
具体时间节点一般在每年5月和11月的下旬审核沪深300指数样本,样本调整实施时间分别为每年6月和12月的第二个星期五的下一交易日。
每年5月份审核样本时,参考的依据主要是上一年度5月1日至审核年度4月30日(期间新上市证券为上市第四个交易日以来)的交易数据及财务数据。

图片来源:《沪深300指数编制方案》截图
而沪深300指数样本的具体选择方法为对样本空间内证券按照过去一年的日均成交金额由高到低排名,剔除排名后50%的证券;对样本空间内剩余证券,按照过去一年的日均总市值由高到低排名,选取前300名的证券作为指数样本。
由此来看,过去一年的时间内,样本股的成交表现和市值变化是决定能否保留在沪深300指数的决定性因素。而这也是此次有多只券商股被调出指数的“硬伤”。
据Choice数据统计,自2021年5月1日~2022年4月30日,申万证券指数下跌14.9%。而在此期间,申万证券指数的成交金额也总体趋于下降。
不过根据规则,被沪深300剔除的样本股将有机会进入中证500等其他指数。因此,此次中证500指数的同期调整则调入了多家券商,包括长江证券、国金证券、财通证券、天风证券、中银证券、南京证券等上述6家被调出沪深300指数的券商。
(责任编辑:华青剑)


