今年3月,网红茶饮品牌喜茶打败山寨店获赔76万元的信息,曾在网络平台引起广泛的热议和讨论。日前,又一知名茶饮品牌ChaLi茶里打赢了一场商标维权官司,二审获赔300万元。
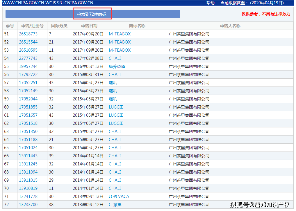
据了解,ChaLi茶里由谭琼创立于2013年,总部设在广州。茶里公司为“CHALI”系列商标的商标权人。根据中国商标网数据,截至目前,茶里公司共申请注册了72件商标,包括“CL茶里”、“CHALI”、“LUGGIE”、“茶里”等商标,涵括多个类别,且大部分已注册成功。
2018年,茶里公司发现上海某公司在微信公众号、官网、微博中使用了含“chali”的标识,在其特许加盟项目的宣传推广中、加盟店经营活动中使用了“chalichali(上下排列)”“chali茶里”等标识。
随后,茶里公司以涉嫌商标侵权为由,将上海某公司起诉至法院,请求判令上海某公司立即停止侵权,赔偿经济损失及合理开支合计500万元。
一审法院认定涉案特许经营项目实际经营活动中使用被诉标识的行为侵害了茶里公司享有的商标专用权,判决上海某公司立即停止侵害茶里公司享有的涉案注册商标专用权,并赔偿茶里公司经济损失及合理开支合计300万元。
4月20日,上海知产法院审结了此案,上海知产法院经审理后维持了一审判决,驳回上海某公司上诉。
至此,茶里公司已获得此次品牌保卫战的全面胜利。事实上,许多茶饮品牌走红后都面临着被仿冒、被山寨的问题。据了解,多家品牌已开展维权工作,有关知名茶饮品牌打假的信息资讯更是比比皆是。
2017年,一点点 品牌方以涉嫌商标侵权及构成不正当竞争为由,将一点点甜不甜 运营公司告上法庭。法院认定一点点甜不甜 运营公司构成商标侵权及不正当竞争,判处一点点甜不甜 运营公司赔偿一点点 品牌方48万元。
鹿角巷于2018年9月开始全国性打假维权。截至2019年8月24日,全国有7000多家“鹿角巷”山寨店,鹿角巷打假团队已完成4000多家山寨店的取证工作,并对其中1700多家提起诉讼。
2018年6月,“放哈”咖啡品牌方将“爱放哈甜胚子奶茶咖啡”运营方起诉至法院。一审法院判令“爱放哈甜胚子奶茶咖啡”运营方赔偿“放哈”经济损失20万元。后“爱放哈甜胚子奶茶咖啡”运营方提起上诉,二审法院驳回上诉,维持原判。
对于网红品牌方来说,随着品牌知名度的不断提高,市场上各类搭便车、傍名牌等侵权行为常常接踵而至;因此在品牌创立之初就应该申请注册相应商标,随后逐步完善,全面布局,防御侵权,并建立高效严密的品牌监控机制。
最后小编想说的是,每一个知名品牌都是消费者选择的结果,品牌还是自己打造的好,靠过硬的产品/服务赢得消费者和市场才王道。(图片来自中国商标网截图及网络)返回搜狐,查看更多

